

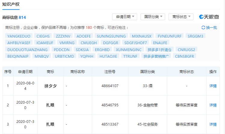
8月17日消息,根据天眼查数据显示,拼多多关联公司上海寻梦信息技术有限公司近日申请注册“拼夕夕”商标,国际分类为“33-酒”,商标状态显示为“ 商标其他情形”,商标流程为“商标注册申请---申请收文”。
此外资料显示,上海寻梦信息技术有限公司上个月还在申请注册“扎眼”、“多多买菜”等多个商标商标、国际分类包括“36-金融物管”、“35-广告销售”等。
据《电商报》了解,上海寻梦信息技术有限公司日前还进行了一轮工商变更。孙沁退出法定代表人、董事长兼总经理职务,朱健?接任法定代表人、执行董事兼总经理。与此同时,董事黄峥、陈磊以及监事陆娟君从主要人员退出,新增主要人员王坚。
当时拼多多对此回应称,此次变更为VIE架构的正常调整,黄峥虽然退出董事席位,但依然拥有80.7%的投票权,不会影响公司正常经营。





